
USB Type-C/PD DC-DC Solution
More and more non-isolated charging ports are leveraging the latest USB charging standards to be able to charge several types of portable devices from other mobile devices, displays or hubs.
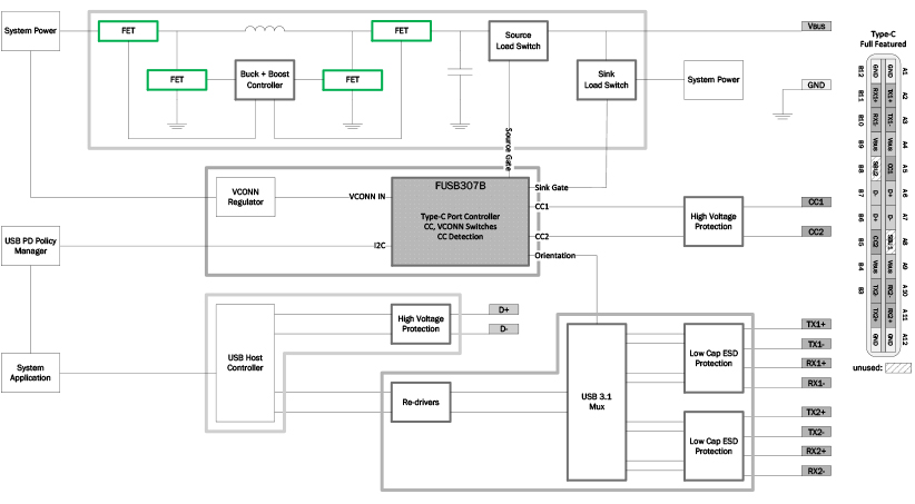
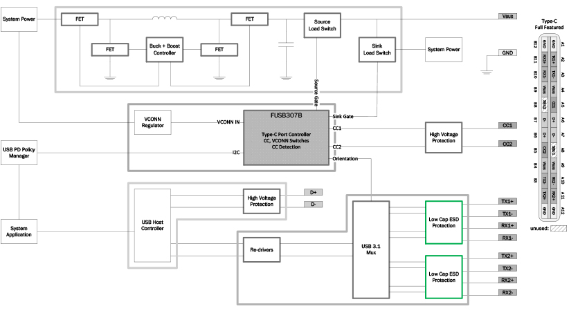
FUSB307B from On Semiconductor provides system designers a highly integrated, flexible and simple to use USB Type-C and USB Power Delivery port controller to provide users with a single charging port for all their devices. The FUSB307B simplifies the interface to the system controller allowing a multi-port USB PD policy engine to be easily implemented by the application processor.
The FUSB307B works in conjunction with DC-DC power management portfolio to support all the standard voltages defined by the USB Power Delivery standard.
The block diagram shown below is capable of sourcing up to 20 volts (V) at 3 amps (A) and includes a boost function allowing the input voltage to be less than the VBUS output voltage to make the best use of the system power available to generate VBUS. In addition to sourcing power, ports using the FUSB307B can also be configured to sink power using the power role swap function defined in the USB Power Delivery standard. With built in controls for external load switches, DC-DCs, and a simple system interface, the FUSB307B provides the DC-DC designer all the necessary tools to make use of the latest USB charging standards.
Get our USB Type-C/PD DC-DC Solution interactive PDF 







